Highlands County Fl Inmate Search

Highlands County Fl Inmate Search - Vellabox Tips for offender lookup. To locate an inmate, enter as much identifying information as possible. Use the wildcard feature to search for partial names or. Webinmatesearch/* highlands county sheriff’s office. Welcome to the official website of the highlands county sheriff’s.
Highlands County Roof, Floor, Pole Barn, and Custom Trusses
Highlands County Roof, Floor, Pole Barn, and Custom Trusses
Websearch for any inmate in custody (or released) who has recently been arrested in highlands county, in florida, or anywhere in the united states. Websearch and view information and photos of current inmates in highlands county jail by pressing here. If you would like to schedule an inmate visit, please go to. Webflorida department of corrections. Webthe highlands county sheriff's office website provides a comprehensive inmate search tool that allows you to find an inmate currently in custody at the highlands county jail.

Related fall coloring pages


Webto find an inmate housed in the highlands county jail, follow these steps: Access the inmate search page. First, visit the highlands county sheriff's office inmate search. Webto lookup jail inmate records in highlands county florida, use highlands county online inmate search or jail roster. Inmate details include name, age, race, sex, eyes, hair,.

Table of Contents

Terms of Use: To share, please send a link to this page. Please do not sell them, email them, share copies online, or distribute them in any way for any other purpose. Thanks!

Highlands County Roof, Floor, Pole Barn, and Custom Trusses

Highlands County Roof, Floor, Pole Barn, and Custom Trusses
Highlands County Roof, Floor, Pole Barn, and Custom Trusses of Highlands County Fl Inmate Search . Source: www.hitek-truss.com

608 Serene Ln, Lorida, FL 33857 | LandWatch

608 Serene Ln, Lorida, FL 33857 | LandWatch
608 Serene Ln, Lorida, FL 33857 | LandWatch of Highlands County Fl Inmate Search . Source: www.landwatch.com

INMATE BOOKING — Marion County Sheriff's Office

INMATE BOOKING — Marion County Sheriff's Office
INMATE BOOKING — Marion County Sheriff's Office of Highlands County Fl Inmate Search . Source: www.marionso.com

Highlands County - RE/MAX Realty Plus

Highlands County - RE/MAX Realty Plus
Highlands County - RE/MAX Realty Plus of Highlands County Fl Inmate Search . Source: www.remax-realtyplusfl.com

Highlands County Vendor Community

Highlands County Vendor Community
Highlands County Vendor Community of Highlands County Fl Inmate Search . Source: www.facebook.com

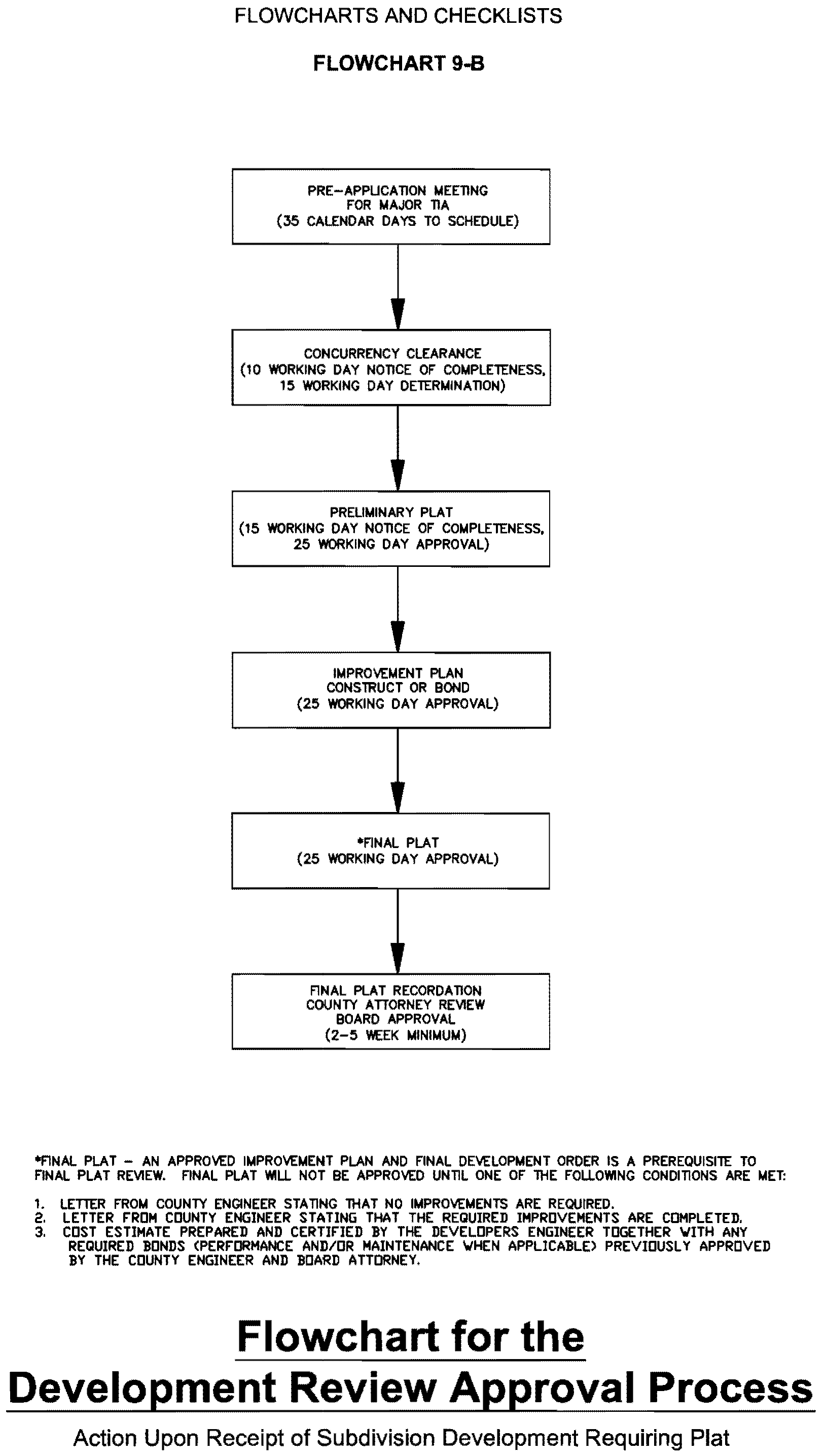
Municode Library

Municode Library
Municode Library of Highlands County Fl Inmate Search . Source: library.municode.com

Municode Library

Municode Library
Municode Library of Highlands County Fl Inmate Search . Source: library.municode.com

Elevation of Highlands County, FL, USA - Topographic Map - Altitude Map

Elevation of Highlands County, FL, USA - Topographic Map - Altitude Map
Elevation of Highlands County, FL, USA - Topographic Map - Altitude Map of Highlands County Fl Inmate Search . Source: elevation.maplogs.com

Highlands County, FL Wall Map Color Cast Style by MarketMAPS - MapSales

Highlands County, FL Wall Map Color Cast Style by MarketMAPS - MapSales
Highlands County, FL Wall Map Color Cast Style by MarketMAPS - MapSales of Highlands County Fl Inmate Search . Source: www.mapsales.com

Highlights of Highlands County Florida | Lake placid, County, Florida

Highlights of Highlands County Florida | Lake placid, County, Florida
Highlights of Highlands County Florida | Lake placid, County, Florida of Highlands County Fl Inmate Search . Source: www.pinterest.com

Location Map of the Highlands County of Florida, USA Stock Vector

Location Map of the Highlands County of Florida, USA Stock Vector
Location Map of the Highlands County of Florida, USA Stock Vector of Highlands County Fl Inmate Search . Source: www.dreamstime.com

Pets for Adoption at Humane Society of Highlands County, in Sebring, FL

Pets for Adoption at Humane Society of Highlands County, in Sebring, FL
Pets for Adoption at Humane Society of Highlands County, in Sebring, FL of Highlands County Fl Inmate Search . Source: www.petfinder.com

Humane Society of Highlands County - Best4Pets

Humane Society of Highlands County - Best4Pets
Humane Society of Highlands County - Best4Pets of Highlands County Fl Inmate Search . Source: best4pets.org

Municode Library

Municode Library
Municode Library of Highlands County Fl Inmate Search . Source: library.municode.com

Municode Library

Municode Library
Municode Library of Highlands County Fl Inmate Search . Source: library.municode.com

Highlands-County of, 540 S Commerce Ave, Sebring, FL, Government - MapQuest

Highlands-County of, 540 S Commerce Ave, Sebring, FL, Government - MapQuest
Highlands-County of, 540 S Commerce Ave, Sebring, FL, Government - MapQuest of Highlands County Fl Inmate Search . Source: www.mapquest.com

2019 Best Private High Schools in Highlands County, FL - Niche

2019 Best Private High Schools in Highlands County, FL - Niche
2019 Best Private High Schools in Highlands County, FL - Niche of Highlands County Fl Inmate Search . Source: www.niche.com

1,483 acres in Highlands County, Florida

1,483 acres in Highlands County, Florida
1,483 acres in Highlands County, Florida of Highlands County Fl Inmate Search . Source: www.land.com

Female Inmates Sterilized Illegally: Report | Prison jumpsuit, Prison

Female Inmates Sterilized Illegally: Report | Prison jumpsuit, Prison
Female Inmates Sterilized Illegally: Report | Prison jumpsuit, Prison of Highlands County Fl Inmate Search . Source: www.pinterest.jp

highlands-county-florida-notice-of-commencement.pdf | DocDroid

highlands-county-florida-notice-of-commencement.pdf | DocDroid
highlands-county-florida-notice-of-commencement.pdf | DocDroid of Highlands County Fl Inmate Search . Source: www.docdroid.net

Municode Library

Municode Library
Municode Library of Highlands County Fl Inmate Search . Source: library.municode.com

Municode Library

Municode Library
Municode Library of Highlands County Fl Inmate Search . Source: library.municode.com

Municode Library

Municode Library
Municode Library of Highlands County Fl Inmate Search . Source: library.municode.com

Sebring, Highlands County, FL Farms and Ranches, Undeveloped Land

Sebring, Highlands County, FL Farms and Ranches, Undeveloped Land
Sebring, Highlands County, FL Farms and Ranches, Undeveloped Land of Highlands County Fl Inmate Search . Source: www.landwatch.com

Highlands County, FL Zip Code Wall Map Red Line Style by MarketMAPS

Highlands County, FL Zip Code Wall Map Red Line Style by MarketMAPS
Highlands County, FL Zip Code Wall Map Red Line Style by MarketMAPS of Highlands County Fl Inmate Search . Source: www.mapsales.com

Pets for Adoption at Humane Society of Highlands County, in Sebring, FL

Pets for Adoption at Humane Society of Highlands County, in Sebring, FL
Pets for Adoption at Humane Society of Highlands County, in Sebring, FL of Highlands County Fl Inmate Search . Source: www.petfinder.com

Municode Library

Municode Library
Municode Library of Highlands County Fl Inmate Search . Source: library.municode.com

Municode Library

Municode Library
Municode Library of Highlands County Fl Inmate Search . Source: library.municode.com

Waste Connections Calendar - Printable Word Searches

Waste Connections Calendar - Printable Word Searches
Waste Connections Calendar - Printable Word Searches of Highlands County Fl Inmate Search . Source: davida.davivienda.com

Colombia Calendario 2024 Barbe Carlita | Images and Photos finder

Colombia Calendario 2024 Barbe Carlita | Images and Photos finder
Colombia Calendario 2024 Barbe Carlita | Images and Photos finder of Highlands County Fl Inmate Search . Source: www.aiophotoz.com

Related Of Highlands County Fl Inmate Search